Viale Labriola 183/187 - 59013 Montemurlo (PO) Italy

Technology of Shearing

Technology of Shearing

The function of a shearing machine is to cut the pile (or the yarn), present on a fabric surface, at a constant level of height. This operation can be applied to a wide range of fabrics and for a wide range of applications.

What kind of fabrics can I process on a shearing machine ?

The shearing machine can process a wide range of knitted fabrics, first of all we have to point out that knitted fabrics can not be processed in tubular form, on the shearing machine.
The effects of the shearing machine in the knitted fabrics can be various:

SHEARING THE PILE OF A RAISED FABRIC
This function is used to shorten and equalize the height of a raised fabric, to create more space for a subsequent raising or to have a final effect.
In this case the machine is equipped with suitable devices to prepare the raised pile for shearing, such as:

  • Beater roller.
  • Velveting unit.

SHEARING THE PILE OF AN ACRYLIC FUR
Acrylic furs need a complete finishing line that is composed of Tigering machines, Polishing machines and finally of Shearing machines.
The shearing machine is placed in the middle and at the end of the finishing process, to cut the pile during its finishing and to give the final effect.
In the production line of Acrylic furs or Acrylic blankets are also requested:

  • Tigering machines
  • Beaters
  • Polishing machines

Produced by our company.

PATTERN SHEARING
If we replace the cutting stand with a roller that bears a pattern design, only those parts of the fabric that correspond to the patter, will be sheared. 

A very nice effect with a design “sculpted” on the pile, will be the result.

CUTTING THE YARN OF A TERRY TOWEL OR OF A KNITTED VELOUR
A knitted fabric made with a terry machine, will have loops on its surface, if we cut the loops of this fabric, a very nice effect of velvet will be the result. In addition other effects like the acid burning are giving extra value to your finished fabrics.

Other applications cover the fields of cleaning a surface, but that rarely applies to a knitted fabric.

How does a Shearing machine work?

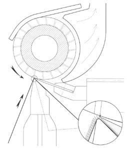
This operation is performed by a device called shearing unit. The shearing unit is composed of two sharpened elements, that are working is a similar way to a scissors.

The first element is a roller, with a certain number of blades (usually from 10 to 24 but can be less or more) fixed on it with an helical displacement, this roller is rolling on a flat blade; the contact between the helical blades and the ledger blade is giving the cutting function.

The rotation of the shearing roller on the flat blade, creates a continuous cutting effect and the point where the flat blade and the helical blades meet, is called the cutting point.

The fibers cut by the cutting operation are removed by a vacuum system, composed of a suction box, placed in the back of the shearing roller.

The fabric is brought in the cutting point by the cutting stand, the cutting stand may have different shapes according to the kind of fabric to process.

The distance between the cutting point and the cutting stand is called shearing height, and it is the height that the ensemble of fabric and pile, will have after shearing.

We have, in fact, to consider also the fabric thickness, when we calculate the desired height of the pile.

A key element for the good functioning and the optimal result of the shearing operation is given by the position of each of these components with each other:

  • The shearing roller and the ledger blade
  • The shearing unit (shearing roller and ledger blade) with the cutting stand.

To do this, the shearing unit is equipped with a series of setting for all the reference positions of the various components.

As we said previously, the shearing unit is like a scissors; in order to have a good cut, for a scissors it is enough that the two blades are well sharpened and pressed in contact one with each other.

For the shearing unit this is a bit more complicated, there is a much higher cut efficiency and we have to make sure that this contact between the two blades is constant on all width.

Anyway, the key point for a good shearing efficiency is the perfect contact between the flat blade and the shearing roller.

The shearing process tends to wear the contact point between these two elements so the shearing quality will be worse after some time, in this case, there are two things to do :

1. Set the shearing unit
2. Perform sharpening of the blades.

 
Advantages of the Danti Paolo shearing unit

Thanks to modern CAD workstations for the 3 dimension computer design, that are equipping our R&D department, we were able to study a shearing unit that meets the highest requirements; the 3D design system allows us to see the shearing unit, before we manufacture it. Turn it around every angle and see its smallest particulars.

We have changed the way of sliding the shearing roller forward and we have given a certain angle to the flat blade, so that is it better supported and the shearing roller goes always to catch the sharp point of the flat blade.

The special angle of the ledger blade has given the following advantages :

  • Possibility of shearing nearer to the fabric surface, than any other shearing machine.
  • Improved quality in shearing result.

By changing the way the shearing roller is shifting in comparison with the ledger blade, we have achieved the following results :

  • Life of blades sharpness about 50% longer than with other shearing machines.
  • Increase of production capacity of about 20%.

We have then used a precision lifter, coming from the machine tools industry, to set the shearing height, this precision lifter is ensuring a very high accuracy in the shearing height and a precise repeatability of the positioning.

Considering that also the shearing machine has the possibility to store in the memory, the production data, this repeatability is very useful to achieve a constancy in the results.